5400ТР194
5400ТР194
Микросхема сбора и обработки телеметрической информации на базе 32-х разрядного RISC-V микроконтроллера
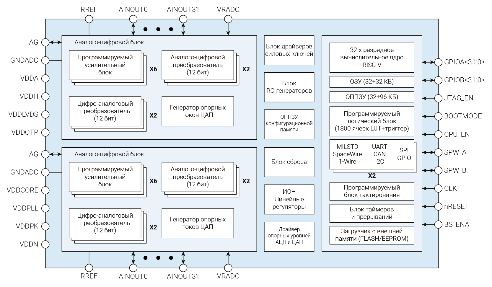
Микросхема 5400ТР194 – программируемая пользователем аналого-цифровая система на кристалле со встроенной системой сбора, обработки и хранения телеметрической информации, 32-разрядным вычислительным ядром и расширенным набором интерфейсов. В микросхеме заложены механизмы повышения сбоеустойчивости вычислительного ядра и памяти.
АЕНВ.431260.740ТУ
Опытные образцы
Серийное освоение – 2 квартал 2026 г.
от –60°С до +85°C
В разработке
Характеристики
32-х разрядное CPU (RISC V Ibex) с программируемой тактовой частотой до 30 МГц
64 аналоговых канала опроса датчиков
4 АЦП 12 разрядов
4 ЦАП 12 разрядов
2 генератора опорных токов
12 программируемых усилителей/компараторов
FPGA на 1800 LUT+trigger
ОЗУ до 64 КБ
ОППЗУ до 128 КБ
2 интерфейса SPI
2 интерфейса 1-Wire
2 интерфейса I2C
2 интерфейса MILSTD1553D
2 интерфейса CAN
2 контроллера SpaceWire c LVDS приемниками и передатчиками
2 универсальных последовательных асинхронных приемопередатчика UART
интерфейс JTAG (программирование и отладка)
64 универсальные линии ввода/вывода с индивидуальной настройкой направления
Функциональные возможности микросхемы
- программирование пользователем встроенного микроконтроллера, конфигурируемой логической матрицы, конфигурируемых аналоговых и аналого-цифровых блоков. При этом конфигурирование аналоговых блоков осуществляется динамически при выполнении программ
- сбор телеметрической информации за счет программируемых встроенных мультиплексированных источников опорного тока, программируемых инструментальных усилителей и аналоговых мультиплексоров
- предварительное усиление аналоговых сигналов с конфигурируемыми параметрами аналого-цифрового преобразования для последующей обработки во встроенном вычислительном ядре
- микросхема позволяет формировать аналоговые управляющие сигналы за счет использования встроенных ЦАП. При этом возможна динамическая программная подстройка аналоговых опорных уровней датчиков для каждого канала

_150.png)
_150.png)